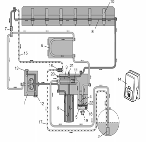
Топливная система Вольво fh12, двигатель D12D.

Топливо всасывается топливным насосом (1) через сетчатый фильтр (2) на датчике уровня топлива в баке, через электрический топливный насос (3) в корпусе топливного фильтра. Если двигатель оборудован фильтром предварительной очистки (4) и водоотделителем (5), топливо проходит также через них. Топливо затем проходит через охлаждающую спираль блока управления (6) к перепускному клапану (7), где топливо из бака смешивается с обратным потоком топлива из топливного канала головки цилиндров (8) и поступает далее к стороне всасывания топливного насоса. Топливный насос нагоняет топливо в топливный фильтр через главный фильтр (9) к продольному топливному каналу головки цилиндров. Этот канал обеспечивает каждый насос-форсунку (10) топливом через кольцеобразную канавку вокруг каждого инжектора в головке цилиндров. Перепускной клапан (7) управляет давлением в системе подачи топлива к инжекторам. Невозвратный клапан (11), расположенный в электрическом топливном насосе (3), предотвращает возврат топлива в бак при выключении двигателя.
В топливном насосе (1) имеется два клапана: Предохранительный клапан (12) позволяет топливу течь назад к стороне всасывания в случае слишком высокого давления, например, когда топливный фильтр забит. Невозвратный клапан (13) открывается при работе электрического топливного насоса (3).
Электрический топливный насос (3) используется в двух случаях: Выпуск воздуха из топливной системы, например, после замены топливных фильтров.
Слив воды из водного сепаратора.
Электрический насос активируется в обоих случаях с помощью выключателя (14) на панели приборов.
Выпуск воздуха из топливной системы
При нажатии выключателя (14) электрический топливный насос включается и работает около 5 минут. Выпуск воздуха начинается при заполнении топливной системы и увеличении давления. При этом воздух выталкивается через топливную линию (15) и воздушный вентиляционный клапан (16) вниз к топливному баку через обратную линию (17).
Слив воды:
Для слива воды из водного сепаратора необходимо выполнение следующих условий:
Датчик (18) в водном сепараторе показывает высокий уровень воды
Автомобиль неподвижен
Двигатель остановлен
Ключ зажигания в положении езда
Используется стояночный тормоз
При нажатии выключателя (14) сливной клапан (19) открывается и выпускает воду. В то же время включается топливный насос для того, чтобы выгнать воду и воспрепятствовать попаданию воздуха в топливную систему. Слив воды занимает примерно 20 секунд.
Сливной ниппель (20) расположен на корпусе топливного фильтра. Ниппель используется при сливе топлива из системы, например, при замене насоса-форсунки. На корпусе топливного фильтра находится также датчик давления (21) для измерения давления подачи после топливного фильтра. Код неисправности отображается на инструментальной панели, если давление подачи меньше, чем значение, приведенное в перечне кодов неисправностей. В качестве дополнительной принадлежности может присутствовать подогреватель топлива (22). Он установленв нижней части водного сепаратора. Все виды топливных систем применяемых Volvo Group описаны по этой ссылке. Узнать о системе охлаждения двигателя D12D можно здесь. Сисетма управления двигателем, о ней говорим в этой статье.